:400 0080 999      : sales@yanan-motor.com
简体中文简体中文
当前所在位置: 首页 / 新闻资讯 / 技术支持 / 详解柴油发电机组两极式与全程式调速器:构造拆解与工作机制

详解柴油发电机组两极式与全程式调速器:构造拆解与工作机制

浏览数量: 432     作者: 本站编辑     发布时间: 2025-09-22      来源: 本站

["wechat","weibo","qzone","douban","email"]

    详解柴油发电机组两极式与全程式调速器:构造拆解与工作机制,今天亚南电机小编来讲解一下柴油发电机组另外两种调速器(两极式调速器全程式调速器)的工作原理。两极式调速器与单程式调速器的主要不同点是:调速弹簧由两根(或两组)弹簧所组成,低速弹簧较长但刚性较弱,高速弹簧较短但刚性强,两弹簧都有一定的预紧力。两极式调速器按调速器起作用的转速范围不同,又可分为两极式调速器和全程式调速器。

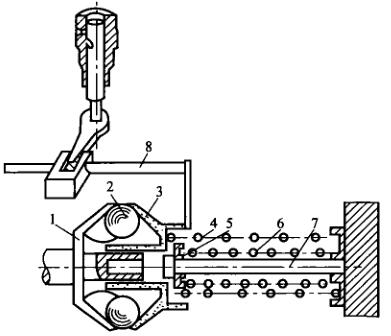
    如下图所示为一种两极式调速器的工作原理图。这种调速器可在两种转速(低速和标定转速)下起作用。其主要特点是调速弹簧由两根组成,外调速弹簧较长,但其刚性较弱;内调速弹簧较短,但刚性强。外弹簧的预紧力小而内弹簧的预紧力大。在未工作时两弹簧之间保持一定距离。此外,供油拉杆既可由调速器操纵,又可由操作者直接控制。

详解柴油发电机组两极式与全程式调速器:构造拆解与工作机制

    两极式调速器工作原理图

    1-传动盘;2-飞球;3-推力盘;4-外调速弹簧;5-内弹簧;6-内调速弹簧;7-支承杆;8-供油拉杆

    两极式调速器的工作情况如下:当柴油机未工作时,外调速弹簧4将供油拉杆8推向供油量最大的位置。当柴油机启动后,转速上升,因外弹簧预紧力小且刚性弱,飞球即可推动供油拉杆向减小供油量的方向移动。当转速升至某一定转速nd时,推力盘与内弹簧座5相接触。这时,由于内弹簧预紧力大而刚性强,因此即使转速继续升高,飞球的离心力仍不足以推动内弹簀座移动。但此时如由于外界负荷变化使转速低于ns时,外调速弹簧即可推动供油拉杆左移增加供油量,以保持柴油机可在nd转速下稳定工作。nd即为最低空转转速。当柴油机转速升至标定转速时,飞球离心力显著升高,其轴向分力与内、外弹簧弹力相平衡。如果这时转速稍许上升,推力盘即推压内、外弹簧,使供油量减少,其工作情况与前述单程式调速器相同。在转速nd与标定转速之间,调速器不起作用,由操作者根据需要调节供油量以实现柴油机转速的基本稳定。

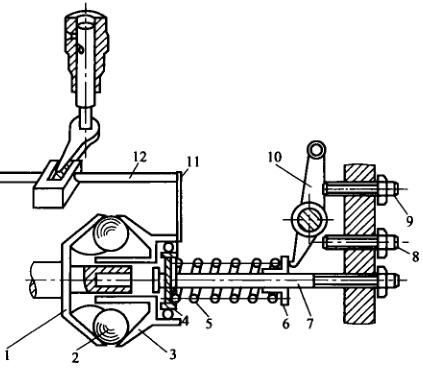
    下图为一种全程式调速器的工作原理图,其特点是调速弹簧的弹力可以由操作者在一定范围内加以调节。因此,调速器起作用的转速也相应地在一定范围内变化。

详解柴油发电机组两极式与全程式调速器:构造拆解与工作机制1

    全程式调速器作用原理图

    1-传动盘;2-飞球;3-推力盘;4-弹簀座;5-调速弹簧;6-调速弹簀滑座;7-支承轴;8-息速限位螺钉;9-最高转速限位螺钉;10-操纵臂;11-传动板;12-供油拉杆

    由操作者操纵的操纵臂10的下端与调速弹簧滑座6相接触。当操纵臂顺时针摆动时,调速弹簧被压紧,弹力增大,使调速器起作用的转速增高。当操纵臂与最高转速限位螺钉9相碰时,起作用的转速达到最大,通常该转速为标定转速。如将螺钉9向外退出,则起作用的转速升高,拧入则降低。

    如将操纵臂反时针摆动,则调速弹箦放松,起作用转速降低。当操纵臂下端与怠速限位螺钉相碰时,调速器则在最低空转转速下起作用,以保持怠速工作稳定。由以上分析可见,装有全程式调速器的柴油发动机,操作者通过扳动操纵臂,改变调速弹簀的弹力,来达到改变柴油发动机工作转速的目的,而柴油机的供油量则由调速器根据外界负荷的变化自动地进行调节。这就大大减轻了操作者在负荷变化频繁时的紧张劳动,同时也提高了工作效率。

    全程式调速器也可采用两根或多根调速弹簧。通常外弹簧较弱,且有预紧力;内弹簧则较强,呈自由状态(这是与两极式调速器的不同之处)。柴油发动机在低转速工作时,外弹簧起作用。随着转速的升高,内弹簧也开始工作,以适应不同转速范围内调速器性能对弹簧刚性的不同要求。

    希望亚南小编的介绍能够对您有所帮助,如果您想要了解更多柴油发电机的知识,您可以浏览亚南的网站,我们会为您提供更专业的服务。www.yanan-motor.cn/


快速链接