:400 0080 999      : sales@yanan-motor.com
简体中文简体中文
当前所在位置: 首页 / 新闻资讯 / 技术支持 / 柴油发电机组单程式调速器:构造解析与工作原理?

柴油发电机组单程式调速器:构造解析与工作原理?

浏览数量: 396     作者: 本站编辑     发布时间: 2025-09-29      来源: 本站

["wechat","weibo","qzone","douban","email"]

    柴油发电机组单程式调速器:构造解析与工作原理?柴油发电机组中有一个单程式调速器,相信许多人并不知道它是用来做什么的,下面亚南电机小编就简单的介绍下单程式调速器的工作原理。柴油发电机组机械式调速器分为单程式调速器,两极式调速器全程式调速器。

    机械式调速器工作原理是调速器要能根据外界负荷的变化,灵敏地调节供油量,以保持转速的稳定。它必须具备两个基本部分:感应元件与执行机构。感应元件用于感应外界负荷的变化。当柴油机的外界负荷变化时,由于供油量与负荷不相适应,首先引起转速的变化。负荷增加时会使转速下降,负荷减小则转速上升。因此感应元件必须能灵敏地感受到转速的波动,并及时将感受到的信号传递给执行机构。

    执行机构用于根据感应元件传递的信号相应地调节供油量。当柴油机负荷增大而转速降低时,执行机构应使供油量增加,以使转速回升到初始转速。当负荷减小而转速升高时,则执行机构应减小供油量,以使转速下降到初始转速。

柴油发电机组单程式调速器:构造解析与工作原理

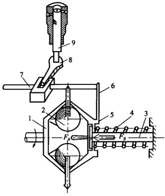
    单程式调速器工作原理图

    1-传动盘2-飞球3-支承轴4-调速弹簧5-推力盘6-传动板7-供油拉杆8-调节臂9-柱塞

    传动盘由柴油机曲轴带动旋转。在传动盘与推力盘5之间布置了一排飞球。飞球在传动盘的带动下随着一起旋转。飞球由于受到离心力的作用而向外飞开。传动盘的轴向位置是一定的,而推力盘则滑套在支承轴3上,可以沿轴向滑动。调速弹簧4以一定的预紧力压在推力盘上。推力盘上固定有传动板传动板则和供油拉杆相连。当推力盘移动时,即通过传动板和供油拉杆使柱塞转动,以改变供油量。传动板向右移时,供油量减少。

    上述调速器的感应元件为飞球,执行机构为推力盘及传动板等。当外界负荷变化引起转速变化时,飞球的离心力随即改变。因离力与转速的平方成正比,故飞球能较灵敏地感应转速的变化。飞球的离心力作用到推力盘上,并产生轴向分力Fa,迫使推力盘向右移动由于推力盘右侧作用有调速弹簧的弹力,因此推力盘的位置取决于两力是否平衡调速器的工作过程如下。

    当柴油机工作时,传动盘和飞球即被曲轴驱动旋转。如飞球所产生的轴向力F小于调速弹簧弹力Fp时,推力盘仍处于最左端的位置。这时调速器尚未起调节作用。当曲轴转速升高到使力F与F相等时,此时曲轴转速为调速器开始起作用的转速。显然,调速弹簧的预紧力F越大,起作用的转速越高;反之则低。

    若柴油机在调速器起作用转速(Fa=Fp)下工作时,外界负荷减小,曲轴转速将上升,飞球作用到推力盘上的轴向分力将增大(Fa>Fp),推动推力盘右移并压缩调速弹簧。而传动板则使供油拉杆向供油量减小的方向移动,使转速降低,F减小,以适应外界负荷的变化。调速弹簧在被压缩的同时弹力Fp也不断增加,因此推力盘将在Fa=Fp时达到新的稳定,而供油量也与减小的负荷相对应。如外界负荷继续减小,转速则不断上升,飞球将使推力盘和传动板将供油拉杆再向右移,当外界负荷为零时,调速器将供油拉杆移至最小供油量位置,柴油机处于最高空转转速下工作。

    综上所述,机械单程式调速器的工作原理可归纳为以下三点:

    1.感应元件通过离心力来感应柴油机转速的变化。当负荷减小、转速增高时,其离心力增大,借助离心力的轴向分力推动供油拉杆减小供油量。当负荷增大、转速降低时,其离心力减小,调速弹簧将推动供油拉杆增加供油量。

    2.调速器起作用的转速由调速弹簧的弹力所决定。

    3.调速器并非使发动机的转速始终保持不变,而是使发动机的转速随负荷变化的波动被控制在允许的范围内。

    机械调速器的工作能力较小,其灵敏度和精度均较差,但其结构简单,维护方便。多用于中、小型柴油机。希望亚南小编的介绍能够对您有所帮助,如果您想要了解更多柴油发电机的知识,您可以浏览亚南的网站,我们会为您提供更专业的服务。www.yanan-motor.cn/


快速链接